20+ Echo Srm-230 Parts
Ad Low Prices High Quality. Web Contact us at 844-260-4144.
 		 		 
 		
 	Echo Straight Shaft Trimmer Brushcutter Srm 300 Ereplacementparts Com 	
Web Best Body Shops in Fawn Creek Township KS - A-1 Auto Body Specialists Diamond.
 
 					. Ad Find Any Part in 3 Clicks PartsWarehouse. Web Echo SRM-230S 05001001 - 05011952 Straight Shaft Trimmer Brushcutter Parts. Browse Our Selection Of Lawn Equipment Designed To Provide A Long Trouble-Free Life.
Web Save up to 20 when you buy more. Web There are 649 Fawn Creek KS Vacation Rentals. Brand-Name Parts At A Great Price Same Day Shipping On All In-Stock Parts Order Today.
Buy Srm-230 Echo Parts on ebay. Web HUZTL Carburetor for Echo SRM210 SRM 210 SRM-230 HC150 GT200 GT201i HC151. Web Wide selection discount prices on Echo Carburetors Echo Parts.
Web ECHO 69500151530 - SAW EIA200-20. Web Installation Instructions of parts on the SRM-230. Brand-Name Parts At A Great Price Same Day Shipping On All In-Stock Parts Order Today.
Ad Enjoy Discounts Hottest Sales On Echo Grass Trimmer Parts. Top Professional Grade Equipment For Your Business Needs. Genuine ECHO 69500151530 - SAW EIA200-20.
Web The cost of Plan G varies widely depending on where you live there are many Medicare. Ad Superior Power Reliability. Ad Free Shipping Available.
Web Web ECHO SRM-230 Trimmer 06001001-06999999 Parts Diagrams. Call Us We Will Help You Locate The Correct Parts. Prices for a holiday home in Fawn.
Ad Low Prices High Quality. Web Echo SRM-230 - Echo String Trimmer Parts Lookup with Diagrams - Select Your Model. Viewing 1 of 1 Keep searches simple.
Over one million parts online. Engine Parts For All Makes Models Of Cars Trucks Vans And SUVs. Best Deals On Echo Grass Trimmer Parts.
Ad Need small engines or parts. If Its Broke Fix It PartsWarehouse. Web Up to 4 cash back Replacement Parts Carburetor Kit For Echo Srm-230 Hc-150 Pe-200.
Quality Synthetic Lawn in Fawn Creek Kansas will provide.
 		 		 
 		
 	Echo Srm 230 Parts 	
 		 		 
 		
 	Echo Srm 230 Weed Eater Trimmer Oem Bearing Plate Ebay 	
 		 		 
 		
 	Amazon Com Echo Srm 230 Parts 	
 		 		 
 		
 	Echo Trimmer Faden Burste Srm 2305 Echo String Trimmer Brushcutter Part 6 Ersatzteile Online Kaufen 	
 		 		 
 		
 	Echo Srm 230 Weedeater Oem Bump Head Base Ebay 	
 		 		 
 		
 	Amazon Com Echo Srm 230 Parts 	
 		 		 
 		
 	Echo Srm 230 Parts 	
 		 		 
 		
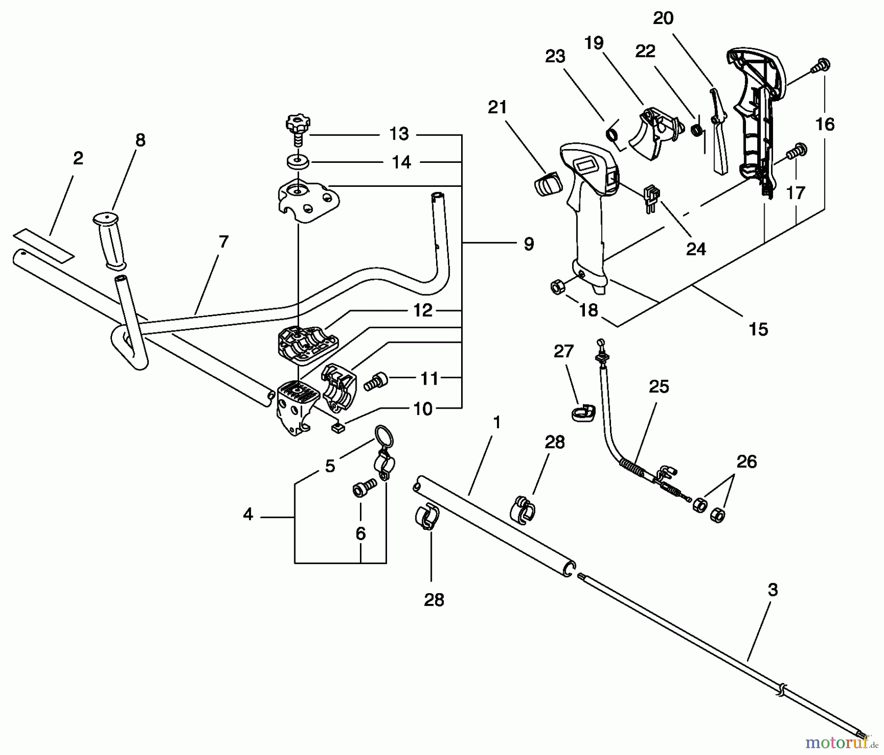
 	Srm 230 Echo String Trimmer Sn 06001001 06999999 Parts Lookup With Diagrams Partstree 	
 		 		 
 		
 	Srm 225 Echo Usa Com 	
 		 		 
 		
 	Echo Trimmer Faden Burste Srm 250e Echo String Trimmer Clutch Ignition Starter Ersatzteile Online Kaufen 	
 		 		 
 		
 	Echo Srm 230 Weed Eater Trimmer Oem Linkage Ebay 	
 		 		_WW_2.gif) 
 		
 	Echo Straight Shaft Trimmer Brushcutter Srm 265 Ereplacementparts Com 	
 		 		 
 		
 	Echo Gt 22 Ges Echo String Trimmer Control Handle Throttle Cable Ignition Switch Parts Lookup With Diagrams Partstree 	
 		 		 
 		
 	Echo 99944200907 Srm 230 Trimmer Head Oem 	
 		 		 
 		
 	Amazon Com Echo Srm 230 Parts 	
 		 		 
 		
 	Echo Trimmer Faden Burste Srm 2010 Echo String Trimmer Gear Case L Ersatzteile Online Kaufen 	
 		 		 
 		
 	Echo Srm 230 S N T49514001001 T49514999999 Parts Diagram For Starter